Documentation
Descrição
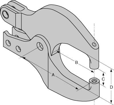
Alligator jaw Front Head Assemblies For US151TA/A
Specifictions- Heat Treated Alloyed steel
- Precision Ground
- Includes all bearings and pins for proper installation into housing
- Set Hole Dia. .187
- All designs supported by F.E.A. Analysis for maximum allowable stresses and model displacement.
